Основные характеристики:
- Тип - термостатический капсульный
- Материал корпуса - нерж. сталь SCS13A
- Максимальная температура - 220*С
- Условный диаметр - 8-25 мм
- Тип присоединения - резьбовое
- Перепад давления - 21 бар(и)
| Тип продукта |
Термостатический капсульный конденсатоотводчик
|
| Применение |
Конденсат пара
|
| Тип присоединения |
Резьбовое
|
| Материал корпуса |
Нерж. сталь SCS13A
|
| Особенность |
Позволяет удалять воздух из паропровода
|
| Макс. рабочий перепад давления |
21 бар(и)
|
ОСОБЕННОСТИ:
✓ Компактный, легкий; может устанавливаться как вертикально, так и горизонтально.
✓ Повышенная коррозионная стойкость; корпус и внутренние детали выполнены из нержавеющей стали SCS13A.
✓ Отсутствие пролетного пара: конденсат отводится при температуре ниже температуры насыщенного пара.
✓ Используется для дренажа паропроводов, в пищевой промышленности, медицинской и т.д.
✓ Позволяет удалять воздух из паропровода, сокращая время прогрева
ТЕХНИЧЕСКИЕ ХАРАКТЕРИСТИКИ:
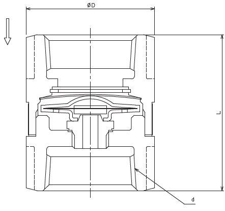
ГАБАРИТНЫЕ РАЗМЕРЫ:


Оплата
Оплата заказа возможна только юридическими лицами по безналичному расчету.
Платеж производится на основании выставленного Счета/Договора с указанием его порядкового № и предмета поставки в платежном поручении. Денежные средства поступят на расчетный счет в течение 1-3 рабочих дней от даты оплаты.
Заказ формируется к отгрузке после зачисления 100% предоплаты на расчетный счет ООО «Вайз Инжиниринг".